- 产品列表更多
- 联系我们更多
-
烟台超群石化机械有限公司
电 话:0535-6207725
图文 传真:0535-6349179
邮 箱:cqsh2012@aliyun.com
销售部手机:15864087878(李经理)
18954554963(黄静)
18954557113(季洁)
13688662616(徐娜)
技术咨询:15864087878(李经理)
Q Q:3292262386
售后查件电话:18863880818(周杰)

代表阻火器保护的最高规格,分为GZ-2稳态爆轰及 GZ-2-1非稳态爆轰主要用于长管段或有多个弯头的管段,用以阻止稳定(可选 GZ-2)和不稳定爆轰(可选 GZ-2-1)。
特点
•最大流量、压降小
•易清理、不易堵塞、维修少
•标准温度检测口
•易安装、可拆卸的阻火栅,便于检查和维护
•双向结构
•支持 ANSI、DIN和 HG/T20592~20635-2009 法兰
规格参数
| 型号 | 尺寸 | 气体组别(IEC/NEC) |
|---|---|---|
| GZ-2管道稳态 阻爆轰阻火器 | 1”(DN25) ~ 40”(DN 1000) |
ⅡA/D ⅡB3/C ⅡC/B |
结构材料
| 型号 | 壳体 | 阻火栅 |
|---|---|---|
| GZ-2管道稳态 阻爆轰阻火器 |
碳钢 304 316L 哈氏合金 |
304 316L 哈氏合金 |
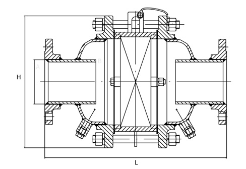
关键参数表
| 型号 |
A 公称连接尺寸 In(mm) |
B 壳体尺寸 mm |
H 外径 mm |
L 总长度 mm |
|---|---|---|---|---|
| GZ-2 | 1(25) | 100 | 220 | 364 |
| 2(50) | 150 | 285 | 404 | |
| 3(80) | 150 | 285 | 404 | |
| 4(100) | 200 | 340 | 454 | |
| 6(150) | 300 | 445 | 620 | |
| 8(200) | 400 | 565 | 660 | |
| 10(250) | 500 | 670 | 760 | |
| 12(300) | 600 | 780 | 860 | |
| 16(400) | 800 | 1015 | 1060 | |
| 20(500) | 1000 | 1255 | 1155 | |
| 24(600) | 1200 | 1485 | 1400 |
*容许公差为 ±1.00″ (25mm);参数内容仅供参考,更多需求请联系我们。





点击或扫描下载